交流接触器的电磁机构包括哪些,电磁机构包括线圈、铁心(静铁心)、衔铁(动铁心)三部分,为了消除衔铁振动和噪音,常采用短路环结构。
交流接触器的电磁机构
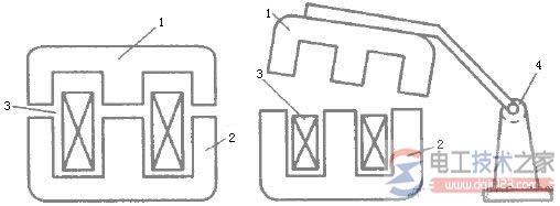
电磁机构包括线圈、铁心(静铁心)、衔铁(动铁心)三部分,其基本构造及衔铁运动方式如图1。

1-衔铁;2-铁心;3-吸引线圈;4-轴
图1 交流接触器衔铁运动方式示意图
对于额定电流40A及以下的接触器,常采用(a)图所示的衔铁直线运动的螺管式结构;对于额定电流60A及以上的,常采用(b)图所示的衔铁绕轴转动的拍合式结构。
为了消除衔铁振动和噪音,常采用短路环结构,如图2。

图2 交流接触器短路环结构